Теперь рассмотрим навесное оборудование для мотоблока.
Основная его функция – поднятие залежавшегося слоя почвы. Плуг для мотоблока необходимо использовать в случае, если земля давно не обрабатывалась. Это приспособление поднимает слой земли, образуя большие комья, поэтому после обработки плугом необходимо культивировать почву
Обратите внимание, что во время работы плуг должен углубляться в землю, это важный показатель качества. По сути, это V-образный плуг
Помимо окучивания, используется для нарезания борозд. Существует три типа окучников – с фиксированной шириной захвата, с переменной шириной захвата и дисковый.
Это навесное оборудование для мотоблока значительно упрощает сбор картофеля, не повреждая при этом клубни. Принцип работы картофелекопателя следующий: приспособление поднимает куски почвы, она осыпается, и картофель отделяется.
Используется для среза травы. Есть два типа косилок: роторные и ножевые. Первые обладают большей производительностью, но они менее безопасны в использовании. Вторые более маневренны и могут использоваться даже между грядок.
Это приспособление необходимо для того, чтобы лучше обеспечить почву влагой и кислородом. Принцип здесь следующий: в земле прокалывается много небольших отверстий — это способствует насыщению почвы кислородом, удобрением и влагой даже на глубоких слоях, у корней растений.
Роторная щетка
Позволяет использовать мотоблок в качестве машины для уборки снега или мелкого мусора.
Бульдозерный нож
Позволяет убирать снег, землю или же перемещать насыпи небольших размеров. Действует по принципу бульдозера.
Позволяют обеспечить хорошее сцепление с грунтом. Зачастую используются для машин небольшой мощности.
Используется для перевозки грузов весом, как правило, от 250 до 550 килограмм (грузоподъемность зависит от модели). Для удобства оператора тележка оснащается сиденьем.
Обратите внимание, что навесное оборудование необходимо подбирать к каждой конкретной модели мотоблока. Перед покупкой убедитесь, что приспособление возможно установить на Вашу модель.
Плуг электролебедка своими руками – фото и чертежи
Р. МАЛЮК Ставропольский крой
1 шт. A3-A5 светодиодный светящийся чертеж доска для рисования граффити…
203.81 руб.Бесплатная доставка ★★ ★★ ★★ ★★ ★★ (4.20) | Заказы (114)
Для приусадебного участка стало популярным использовать самодельную лебедку при вспашке. Сделанные самоделки собственными руками более предпочтительны. Рассмотрим лебедку для вспашки донором, которой стал мотоцикл Минск. Двигатель с рабочим объемом 125 см в кубе не слишком тяжелый и мощности вполне достаточно. Кто пользовался мотоциклом Минск, знает, что запускается двигатель очень легко и безотказно. В эксплуатации надежен ремонт не дорогостоящий. Запчасти доступны и проблем с ними нет.
Как сделать ручной культиватор
Основная часть этой модели самодельного культиватора – это пять стальных дисков-блинов, которые надеты на ось и могут проворачиваться на ней. Три диска из пятисодержат острые Г-образные зубья, представляющие собой рабочие органы для рыхления почвы. По концам оси установлены цапфы с подшипниками, к которым прикреплены стальные скобы, соединяющиеся на деревянной рукоятке.
Схема зубчатого вспахивателя:
- 1 — диски-блины,
- 2 — Г-образные зубья,
- 3 — ось, 4 — цапфа,
- 5 — стальная скоба,
- 6 — рукоятка
Диски-блины и ось либо вытачиваются самостоятельно. либо делается заказ на их изготовление на токарном станке. Во внешних поверхностях и в боковых гранях трех дисков сверлится по пять отверстий для закрепления зубьев из стального прутка диаметром 10мм.
Диски с зубьями надеваются на ось, затем устанавливаем цапфы с подшипниками и шайбы. Катясь по почве, диски культиватора зубьями вонзаются в землю и рыхлят ее верхний слой. Острые зубья режут корни сорняков, измельчают почву и способствуют ее аэрации.
Дисковый роторный культиватор
Самодельным роторный культиватором можно выполнять боронование, разбивать крупные куски земли и разравнивать поверхность участка. Схема этой модели изображена ниже на рисунке и носит название дискового культиватора.
Самодельный дисковый культиватор:
- 1- диск,
- 2 — ось.
- 3 — втулка,
- 4 — скоба большая,
- 5 — скоба малая,
- 6 — шток,
- 7 — труба,
- 8 — ручка
Рабочим органом дискового культиватора являются полусферические выпуклые диски, приваренные к втулкам. По два полусферических диска надеты на две оси, концы которых закреплены в скобах шплинтами. Труба 7 с поперечной перекладиной, в которую ввинчиваются рукоятки 8 проходит через специальный уступ, приваренный к большой скобе 4. К малой скобе 5 приваривается конец штока длиной 250мм и диаметром 24х2мм с глухим резьбовым отверстием, в которое ввинчивается стержень диаметром 16мм, верхний конец которого (с барашками) выступает над поперечной перекладиной. Стальные диски 1должны иметь полусферическую форму, а сделать их с такой формой из обычных стальных пластин толщиной 4мм нелегко. Нужно сильно ударяямолотком, «выбивать» чаши из заготовок.
Барашки на конце стержня позволяют регулировать угловое положение полусферических дисков. При вращении барашков по часовой стрелке стержень и шток движутся вверх, поднимая вверх малую скобу и внутренние концы осей, вследствие чего угловое положение дисков изменится.
Как сделать электромотоблок своими руками?

Надежный электрический мотоблок для вспашки земли совершенно спокойно можно сделать собственноручно. Это не дорогостоящее удовольствие и не требующее особых денежных вложений. Электромотоблоки достаточно легко собираются, а все необходимые детали можно приобрести в свободной продаже. Конструирование своими руками состоит из нескольких шагов:

на первом этапе изготавливается рама. Для этого понадобится швеллер и уголок
Важно учитывать, чтобы размер рамы и мотора был одинаков. Для роли ручек лучше всего приварить две трубы по краям рамы, после этого ручки закрепляются металлической вставкой, которая несет функцию оси; для отличной фиксации следует прикрепить кронштейн посередине трубы. На раму монтируется небольшая площадка для установки электродвигателя; колесо, которое передает движение ремню, соединяется с аналогичным колесом на электрическом двигателе
Далее цепь передает движение ниже установленной звездочке. Велосипедная цепь отлично справится с этой задачей; электрический мотоблок для вспашки земли предполагает наличие навесного оборудования на машине. Вариаций существует огромное множество, хорошо могут подойти изогнутые металлические ножи, которые смогут углубиться в землю и с легкостью ее взрыхлить; для облегчения работы рекомендуется установить специальную катушку, на которую будет наматываться лишний провод. Управление лучше всего осуществлять при помощи выключателя. Электрический мотоблок своими руками готов
На раму монтируется небольшая площадка для установки электродвигателя; колесо, которое передает движение ремню, соединяется с аналогичным колесом на электрическом двигателе. Далее цепь передает движение ниже установленной звездочке. Велосипедная цепь отлично справится с этой задачей; электрический мотоблок для вспашки земли предполагает наличие навесного оборудования на машине. Вариаций существует огромное множество, хорошо могут подойти изогнутые металлические ножи, которые смогут углубиться в землю и с легкостью ее взрыхлить; для облегчения работы рекомендуется установить специальную катушку, на которую будет наматываться лишний провод. Управление лучше всего осуществлять при помощи выключателя. Электрический мотоблок своими руками готов.
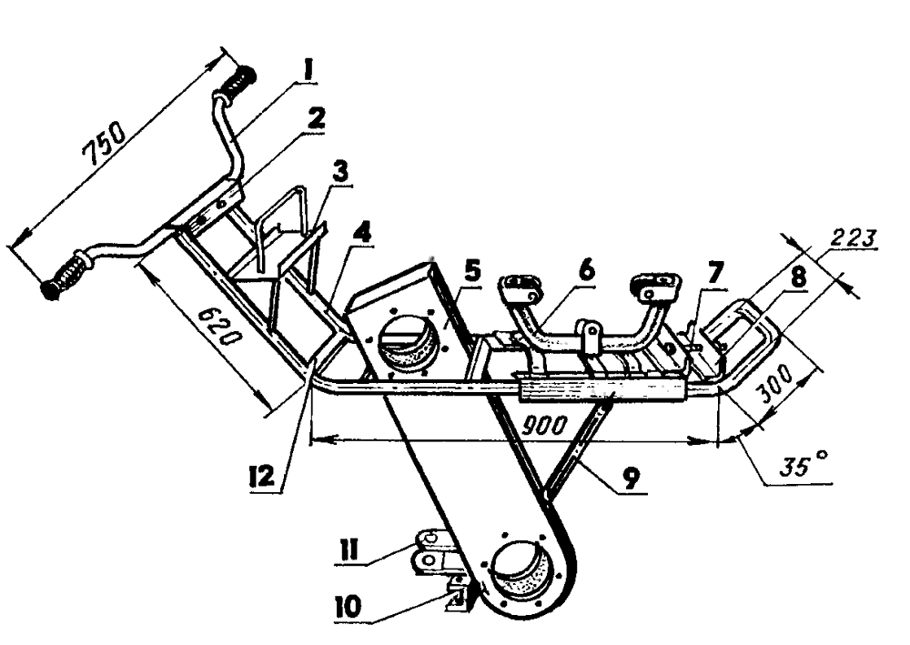
Делаем раму
Все агрегаты мотоблока базируются на одной раме. Конструкция рамы: два лонжерона, передние и задние концы которых загнуты кверху, а передние — еще и встречно и соединены сваркой. К задним концам, также сваркой, присоединена конструкция от мотоцикла «Иж» — руль с рычагами управления. Материал лонжеронов — стальная водопроводная труба (дюйм с четвертью).

Чертеж рамы мотоблока собранного своими руками
По длине лонжероны соединены несколькими поперечинами. Передняя из них — упор для натяжителя цепи 1-й ступени трансмиссии. Поперечинами служат и некоторые детали мотоблока — например, площадка под аккумуляторную батарею.
Один из компонентов рамы, картер редуктора, служит и стойкой между силовым агрегатом и ходовой частью. К нижней задней части картера можно подцепить культиваторный подрамник или двухосную тележку для перевозки грузов.
Недорогие модели для дачи
Мы не будем составлять полноценный и большой рейтинг электрических культиваторов, как делают на разных сайтах (где, кстати, просто берут первые попавшиеся модели, не разбираясь, хорошие они или плохие), а лишь упомянем пару вариантов недорогих. На наш взгляд, они обладают хорошим соотношением цены и возможностей и будут достаточно неплохим выбором для дачного участка в 6-10 соток максимум.
Предоплата Электрический культиватор DDE ET750-30 {60092} Арт. 359748 Нет в наличии 6 590 р. Последняя цена TZ-бонусов: 66 поступленииСообщить о
DDE ET750-30 – недорогая модель, которая способна справляться с почвой на глубину до 20 сантиметров. Это будет хороший выбор для небольших участков с уже культивированной почвой, для необработанной земли данная модель не подходит (как и почти все электрические культиваторы, о чем мы писали выше). Может работать в режиме 20 минут работы и 40 минут отдыха, есть защитный кожух, защита от случайного пуска, пылевлагозащита.
Мощность – 750 Вт, что нельзя назвать очень высоким показателем, но для модели бытового класса этого более чем достаточно. Вес – 8 килограмм, размеры достаточно компактные. Ширина обработки – 30 сантиметров. По отзывам покупателей это достаточно надежная модель, которая прослужит не один сезон.
Предоплата Электрический культиватор DDE ET1200-40 {60096} Арт. 359741 Склад (6-8 недель) 9 449 р. TZ-бонусов: 94 Заказать
DDE ET1200-40 – чуть более дорогая модель электрического культиватора, которую также можно отнести к бытовому классу. В целом она во многом похожа на предыдущую, ключевые отличия в более высокой мощности (1,2 кВт), а также в ширине обработки до 40 сантиметров. Это не слишком удобно для участков, где есть узкие места. Глубина обработки при этом на таком же уровне (20 сантиметров максимум), а более высокая мощность необходима как раз для ширины, кроме того, здесь используются шесть фрез, а не четыре, как в предыдущем случае.
Две модели практически одинаковы, но если говорить о выборе, то второй вариант будет предпочтительнее, так как иметь запас мощности лишним никогда не будет. Да, есть и более мощные (и дорогие модели), но, как мы подозреваем, большинство дачников покупают электрические культиваторы примерно в данной ценовой категории.
Самодельный мотоблок по инструкции Архипова
Конструкция такого мотоблока выполнена в виде самоходного двухколесного агрегата, который поставляется с двигателем от мотороллера ВП-150М. Эта модель мотора обладает таким конструктивным характером, что при повышенных нагрузках происходит принудительное охлаждение головки цилиндра с помощью воздуха.
Если соблюдать инструкцию Архипова, то на следующем этапе придётся изготовить сваренную из труп П-образную раму, а затем выточить на токарном станке колесную ось. Для основной и регулирующих тяг следует создать 3 шарнира, которые будут выполнять роль соединяющих элементов между мотоблоком, рулем и плугом.
В свою очередь, раму агрегата оборудуют стальной трубой с осью, используя сварочный аппарат. Это позволит осуществить натяжение тросов, идущих к коробке переключения передач. Само натяжение обеспечивается с помощью качающего коромысла. Переключение передач осуществляется с помощью приваренного отрезка стальной трубы.
Что касается аналогов подобной разработки, то их действительно очень много, правда, оригинальная версия обладает некоторыми бесспорными достоинствами.
Преимущества мотоблока Архипова:
- Наличие шарнирного соединения. Не секрет, что большинство обрабатывающих приспособлений и тягачей оборудованы жестким соединением, что негативно сказывается на маневрировании агрегата, усложняя работу с ним. Все элементы разработки Архипова соединены между собой с помощью шарниров. За счёт такого параметра появляется возможность менять направление движения в процессе работы без вынимания плуга из борозды.
- Смещение оси к направлению движения. При обрабатывании почвы с помощью мотоблока у многих дачников возникает такая проблема, как постепенное смещение агрегата в сторону под воздействием сопротивления. Чтобы выравнивать борозду, приходится прикладывать много усилий. Для компенсации заноса мастер разместил ось плуга под небольшим углом в сторону движения. Выполняя работу, конструкция слегка смещается влево, а необходимое направление регулируется посредством шарниров тяги.
- Уровень глубины пахоты. В большинстве существующих моделей мотоблоков глубина погружения рабочего элемента обусловлена опусканием или подъёмом плуга. В случае с данной разновидностью её изменяют автоматическим образом. Для регулировки изменяется угол плуга по отношению к борозде. В свою очередь, конструкцию оборудуют полевой доской, выполняющей роль подъёмной силы при произвольном зарывании плуга в землю. Если же проблема проявляется противоположным образом, и лемех появляется над поверхностью земли, то угол атаки вновь погружается в землю на конкретную глубину.
Электрические мотоблоки для вспашки земли
На сегодняшний день сельское хозяйство трудно представить без специальной механизированной агротехники. Еще не так давно фермеры вспахивали почву вручную, но технический прогресс не стоит на месте и его развитие позволило значительно упростить жизнь и сохранить здоровье дачников. Появилось огромное количество механических устройств, способных существенно облегчить выполнение работ по обработке и культивации почвы. Особое место среди такой техники занимает мотоблок электрический. Он представляет собой универсальный механический агрегат для вспашки участков почвы средней величины.

Как сделать мотоблок электрический своими руками
Используют электромотоблоки в закрытых помещениях или же участках, ограниченных по площади. Возможность доступа к электросети — единственное условие их применения. Если же модель аккумуляторная, то отсутствие электросети не составит преград. Во время использования электромотоблока старайтесь не перегревать двигатель, позвольте ему охладиться.
Также не рекомендуется его использовать на не вспаханных и тяжелых почвах, благодаря чему добьетесь продления срока службы. Электомотоблоки оснащаются дополнительными функциями, которые значительно облегчают работу оператора.
Например, срок службы продлит функция автоматического отключения при перегреве двигателя. Регулируемая рукоятка позволит установить ее под оператора.
Рассмотрим конструкцию электромотоблока «Электрокрот», изготовленного своими руками из своего бензинового предшественника. Вначале рассмотрим преимущества полученного электромотоблока — проще и легче в ремонте и эксплуатации, отсутствие нужны в бензине. Также данная модель собирается своими руками, причем используются распространенные детали и материалы, которые легко найти.
Самодельный электрический мотоблок
Чтобы изготовить мотоблок электрический своими руками, начинаем работу с рамы используя два куска швеллера №10 и уголок 32х32. Подготавливаем два куска трубы, путем установки бронзовой вставки с отверстием. Через эти отверстия пройдет ось. Привариваем трубы с обеих сторон рамы. Далее, через стенки трубы на винтах крепится вставка. Она также может служить подшипником скольжения.
Хотя для этого лучше подойдут шарикоподшипники подобранные по диаметру трубы. Для крепления рукояток к верхней трубе привариваются кронштейны. А кронштейн для крепления культиватора или держателя плуга приваривается в середине трубы. С помощью винтов на раму, в прорези боковых ребер устанавливается площадка. Электродвигатель будет крепиться на отверстия, которые имеются у площадки.
Шкив электродвигателя соединен ременной передачей шкивом на оси, которая установлена в трубе рамы. С другой стороны оси наложена звездочка. Она, используя цепную передачу подает движение на звездочку, которая находится ниже. Для цепной передачи используется мотоциклетная или велосипедная цепь.
Об устройстве мотоблока
Далее вы узнаете какой мотоблок лучше выбрать.Чтобы было понятнее, в чем же состоит принцип самодельного изготовления мотоблока и его дополнительных комплектующих, надо детальным образом рассмотреть само устройство мотоблока как средство малой механизации. Итак, данный агрегат включает в себя несколько основных рабочих узлов:
- Основная движущая сила, т.е. двигатель.
- Трансмиссия.
- Ходовая часть.
- Основные элементы управления.
Двигатель
В качестве основной движущей силы в конструкции мотоблоков используется стандартный двигатель внутреннего сгорания. В зависимости от типа и марки мотоблока, например Кайман Варио, Патриот Урал, Техас, Прораб, Кроссер, Викинг, Форза применяемый двигатель может быть различным:
- Бензиновый 4-тактный двигатель. Этот движок используется для агрегатов, относящихся к легкому и среднему классу устройств.
- Дизельный 4-тактный двигатель. Подобного рода моторы используются на тяжелых и мощных мотоблоках, предназначенных для работы на самых сложных участках поверхности.
Видео: Лучший дизельный мотоблок
Более подробно о работе дизельного мотоблока смотрите на видео:
- Система, отвечающая за подачу горючего. Состоит из бака с горючим, карбюратора, воздушного фильтра и шланга для топлива.
- Смазочная система, осуществляющая процесс смазывания тех деталей, которые трутся между собой.
- Стартер, обеспечивающий раскрутку коленвала.
- Охлаждающая система, которая уводит тепло от блока цилиндра мотора при помощи воздушного потока.
- Система зажигания, которая производит искру на свече зажигания.
- Газораспределительная система, которая обеспечивает поступление топливовоздушной смеси в цилиндр мотора, а также отвечает за выход отработанных газов.
Трансмиссия
Основной функцией трансмиссии является передача крутящего момента от мотора к колесной базе, а также регулирование скоростей и смену движения агрегата. В её конструкцию входит несколько рабочих узлов: редуктора, сцепления, коробки передач и дифференциала (есть не во всех моделях).
Трансмиссия может быть нескольких типов:
- Шестеренчатая.
- Ременная.
- Цепная.
- Комбинированная.
В основном, классический тип шестеренчатой трансмиссии используется на тяжелых мотоблоках, а состоит он из конических и цилиндрических шестерен.
Остальные типы трансмиссии используются в легких и средних типах мотоблоков. При этом, вне зависимости от типа трансмиссии, в конструкции находится ВОМ – вал отбора мощности, который передает крутящий момент к рабочим узлам агрегата.
Что касается сцепления, то оно может быть различным:
- В виде клиноременной передачи. Суть процесса состоит в рычаге сцепления, которая натягивает или ослабляет ремень, чем передает, либо прекращает передачу крутящего момента от мотора к редуктору.
- Однодисковое или многодисковое сцепления сухого или мокрого типа.
- Коническая муфта.
В большинстве качественных мотоблоков Садко, Дон, Хутер, Профи, Пахарь, Чемпион, Карвер используется второй тип сцепления, который отличается наибольшей надежностью.
Ходовая часть
Ходовая часть включает в себя не только непосредственно саму колесную базу, но и рамную конструкцию, к которой эти колеса крепятся, и где располагаются основные рабочие узлы мотоблока.
На сегодняшний день, различают два вида колес – пневматические и металлические с грунтозацепами.
Основные элементы управления
Управление мотоблоком находится на рукоятке агрегата, отвечая за изменение скорости и направления движения устройства. Среди элементов управления находятся:
- Рычаги, руль и переключатели скоростей.
- Управление сцеплением.
- Рычаг или кнопка остановки двигателя.
- Подачи газа и т.д.
В конструкции мотоблока отсутствует сиденье для человека (как и в мотоблоке Салют), поэтому само управление производится человеком собственноручно.
Это интересно: Самые популярные модели мотоблоков Салют и навесное оборудование к ним: рассмотрим в общих чертах
Средние культиваторы
Далее в нашем рейтинге представлены топовые электрические культиваторы средней весовой категории.
Daewoo Power Products DAT 2500E
Daewoo Power Products DAT 2500E выполнен из металла повышенной прочности
Эргономичный и компактный электрический культиватор для обработки небольших земельных наделов. Активно применяется для вспашки, рыхления и выравнивания почвы, прополки междурядий, окучивания грядок, нарезания борозд и разбрасывания удобрений.
Корпус культиватора Daewoo Power Products DAT 2500E выполнен из металла повышенной прочности. Агрегат устойчив к различным механическим повреждениям и деформации.
Характеристики
- двигатель – электрический, 2,50 кВт/3,40 л. с.;
- ширина культивирования – 55 см;
- глубина вспашки – 28 см;
- количество фрез – 4 шт.;
- вес – 29 кг.
Плюсы:
- стильный и лаконичный дизайн;
- прочность, надежность и стойкость к износу;
- широкий спектр применения;
- компактность, легкость и маневренность;
- отсутствие сложностей с хранением и транспортированием;
- низкая шумность.
Минусы:
- несоответствие действительности указанных на упаковке технических параметров;
- отсутствие заднего хода;
- слабое крепление рукоятки управления;
- завышенная стоимость дополнительного навесного оборудования.
Видео «Детальный обзор Daewoo Power Products DAT 2500E»
В этом видеообзоре показано, как правильно собрать электрокультиватор.
ELITECH КБ 4Е
ELITECH КБ 4Е отличается удобством эксплуатации
Предназначен для рыхления почвы и внесения удобрений на садовом участке и небольшом огороде. Отсутствие выхлопных газов позволяет использовать аппарат в теплицах, парниках и оранжереях. ELITECH КБ 4Е отличается удобством эксплуатации и высокой маневренностью. Во избежание повреждений мелких деталей рекомендуется своевременно очищать культиватор от комьев земли и грязи.
Характеристики
- двигатель – электрический, 2 кВт/2,72 л. с.;
- ширина культивирования – 45 см;
- глубина вспашки – 15 см;
- количество фрез – 4 шт.;
- вес – 32 кг.
Плюсы:
- низкий уровень шумности;
- высокая производительность;
- отсутствие сложностей с техобслуживанием;
- справляется с культивацией целины.
Минусы:
- при интенсивной работе возможны проблемы с сошником (перекос);
- в комплекте поставки отсутствует ключ для сборки.
Видео «Обзор ELITECH КБ 4Е»
В этом видеосюжете специалисты рассказывают об особенностях применения культиватора для обработки почвы на даче и огороде.
ЛопЛош 2000
ЛопЛош 2000 имеет нестандартную для электрокультиваторов конструкцию
Имеет нестандартную для электрокультиваторов конструкцию. Наличие однофазного асинхронного двигателя позволяет использовать агрегат продолжительное время. ЛопЛош 2000 применяют для окучивания садовых растений, возделывания целины, рыхления мягкого и плотного грунта, внесения удобрений. Может использоваться для борьбы с сорняками и другой нежелательной на грядках растительностью.
Характеристики
- двигатель – электрический, 2 кВт/2,72 л. с.;
- ширина культивирования – 30 см;
- глубина вспашки – 18 см;
- вес – 38 кг.
Плюсы:
- универсальное применение;
- простота и удобство использования;
- надежность и прочность конструкции;
- высокая мощность.
Минусы:
- большой вес;
- сложности с транспортированием и хранением;
- незначительная глубина вспашки.
Видео «Сравнение ЛопЛош 2000 с классическим культиватором»
В этом видеосюжете показан принцип действия двух агрегатов на целине.
Monferme Agat
Monferme Agat – стильный «дамский» культиватор
Стильный «дамский» культиватор предназначен для обработки садовых и приусадебных участков небольшой площадью. Агрегат отличается экологичностью и низким уровнем шумопроизводительности. Monferme Agat имеет защиту от случайного запуска двигателя. Характеризуются эффективным расходом мощности. Предусмотрено 4 скорости движения – 2 назад и 2 вперед.
Характеристики
- двигатель – электрический, 0,8 кВт;
- ширина культивирования – 47 см;
- глубина вспашки – 24 см;
- вес – 32 кг.
Плюсы:
- стильный и интересный дизайн;
- низкая шумность;
- экологичность;
- наличие кнопки блокировки от случайного запуска.
Минусы:
- несоответствие веса и мощности;
- не справляется с обработкой уплотненного грунта.
Видео «Monferme Agat – самая хорошая модель культиватора для женщин»
В этом видеоролике рассказывается о преимуществах легкого и стильного аппарата.
Выбор модели по техническим характеристикам
Покупка специализированной сельскохозяйственной техники – весьма ответственное мероприятие. Чтобы не жалеть потраченных денег, нужно заранее внимательно изучить критерии выбора агрегатов.
Масса, мощность и площадь обработки
На сельскохозяйственном рынке механизированной техники представлены культиваторы российского, белорусского, украинского, европейского, японского и китайского производств.
В зависимости от веса электрокультиваторы бывают:
- сверхлегкие – до 15 кг;
- легкие – от 15 до 45 кг;
- средние – от 45 до 60 кг;
- тяжелые – от 60 кг и более.
Обратите внимание, что мощность агрегата влияет на его вес. Зачастую высокомощные аппараты относятся к средней и тяжелой категориям
Так, средняя мощность колеблется от 0,7 до 2,0 кВт. Производительности такого аппарата хватает для обработки огорода на дачном участке. Электрокультиваторы мощностью 2,0–2,5 кВт применяют для обработки участков площадью от 10 га.
Разновидности специализированной сельскохозяйственной техники
Фрезы
Количество фрез влияет на качество рыхления и обработки почвы. Чем больше фрез, тем выше продуктивность электрокультиватора. Минимальное количество фрез – 2 шт.
При покупке обратите внимание на электрические культиваторы с 6 фрезами. При этом учитывайте ширину захвата
Слишком частое расположение фрез приводит к частым поломкам техники.
Как выбрать и на что обратить внимание
Выбирая мотоблок ориентироваться стоит на несколько важных параметров.
Класс мотоблока
Исходя из того, какие работы будут проводится, выбирается класс устройства. Легкие подойдут для несложных работ в саду или огороде.
ВАЖНО!
Средние и профессиональные модели — отличный вариант для сложных работ, таких как посев, сбор урожая и сена, перекачка воды, уборка снега, перевозка больших грузов и пр.
Тип двигателя
Мотоблоки можно разделить на два вида в зависимости от типа двигателя: бензиновые и дизельные.
Первые отличаются небольшим весом и стоимостью, низким уровнем шума, практически не ощутимой вибрацией руля. К тому же, такие модели не требуют особого ухода и дорогого ремонта, они отлично подходят для домашнего использования.
Дизельные обладают максимальной устойчивостью, высоким уровнем сцепления с землей, надежностью, наличие воздушного или водяного охлаждения.
К тому же, они отлично экономят топливо. Главный их минус — высокая стоимость. Использовать их лучше всего для работы в полях и на больших огородах.
Мощность двигателя
Мощность современных мотоблоков варьируется в пределах 3-9 л. с. Именно этот параметр влияет на производительность машины даже в сложных условиях.
Для работы на небольшом участке в пару соток подойдет модель на 3-4 л. с.
Для более просторных полей в гектар потребуется мотоблок, мощностью 5-6 л. с. Самые мощные модели в 6-9 л. с. — идеальный вариант для работы со сложными почвами и огромными объемами.
Глубина культивирования
Различные модели могут поднимать грунт с глубины 20-35 см. Если плодородный слой составляет 20 см, то более глубокое культивирование может привести к ухудшению состояния почвы и снижения плодородности.
Именно поэтому в таком случае подойдет мотоблок с глубиной культивирования в 20-25 см. В случаях с более толстым грунтом стоит приобрести мотоблок со значениями 30-35 см.
Максимальная ширина обработки
Эта величина обозначает максимальный захват по ширине за один проход аппаратом. Для небольшого огорода будет вполне достаточно значений 60-70 см.
ОБРАТИТЕ ВНИМАНИЕ!
Большие участки требуют моделей с шириной обработки 80-130 см.
Вал отбора мощности
Вал отбора мощности представляет собой элемент мотоблока, благодаря которому к машине можно подсоединить дополнительное навесное оборудование.
Главная функция вала в том, чтобы передать вращения от двигателя на навесное оборудование.
Модели с ВОМ стоит покупать в том случае, если кроме вспашки земли, мотоблок будет использоваться и для других целей (перевозки грузов, уборки снега и мусора, сбора урожая и т. д.).
Производитель двигателя
Не менее важно при покупке обращать внимание и на компанию-производителя. Отдавать предпочтение необходимо стабильным брендам, которые продают свою технику уже много лет и известны как в нашей стране, так по всему миру
Коробка передач
Сегодня большинство моделей полупрофессионального и профессионального класса оснащены механической коробкой передач.
Зачастую мотоблоки имеют несколько скоростей: две передние и одну заднюю, по две в каждую из сторон, или же четыре передний и две задний.
Большое количество скоростей — оптимальный вариант при разнородной почве
Также это важно при перевозке грузов или уборке снега. Задний ход необходим в тех случаях, когда участок слишком стеснен и развернуться на нем сложно
Вес
Для домашнего использования оптимальным вариантом будет агрегат весом 60-80 кг. для обработки целины лучше выбирать модели массой 90-110 кг. Более тяжелые устройства применяют для работы на твердой почве, перевозки больших габаритных грузов или сбора большого урожая.
Разновидности фрез для мотоблока
Фрезы на мотоблок могут отличаться друг от друга по форме и конструкции, количеству ножей и их расположению. Они устанавливаются в задней части мототехники и зависят от вала отбора мощности. Лучший результат почворезы дают при увеличении скорости движения.
Лезвия плавно и поочередно входят в почву, что благоприятно отражается на трансмиссии мотоблока.
Выделяют 2 разновидности фрез:
- активные, или саблевидные;
- гусиные лапки.
Активные саблевидные
В стандартный комплект мототехники входят саблевидные фрезы. Они эффективны и популярны среди фермеров.
Читать также: Как правильно установить электрощиток
Нож активной фрезы для мотоблока представляет собой изогнутую на концах полосу. Загибы направлены поочередно в разные стороны.
В заводских условиях лезвия производят из прочной легированной или высокоуглеродистой стали с обязательной термической закалкой и обработкой высокочастотными токами. При самостоятельном изготовлении насадки мастера рекомендуют использовать рессорную термообработанную и закаленную сталь 50ХГФА.
Гусиные лапки
Навесные механизмы под названием «гусиные лапки» используются сравнительно недавно. Высокая эффективность достигается за счет их специфической формы. Конструкция фрез — цельносварная и неразборная. Ножи выполнены в форме треугольника, расположенного на конце стойки.
Заводские стандартные фрезы имеют такие размеры:
- ширина ножей — 41 см;
- длина реза — 38 см;
- высота орудия — 38 см;
- вес — 16 кг;
- номинальная рабочая скорость культиватора с фрезами — 2-5 км/ч.
Для изготовления почвенного орудия выбирают низкоуглеродистую сталь. Ножи самозатачивающиеся, при аккуратной эксплуатации их можно не точить.
Как собрать фрезы для мотоблока
Заводская фреза устанавливается, согласно инструкции по сборке. Для удобства работы пользуются специальными Х-образными козелками высотой 50 см, выполненными из дерева. Мотоблок устанавливают на сошник. Угол наклона должен составлять не менее 45°. Под рукоятку руля подставляют козелки и снимают колесо.
При сборке фрезы необходимо помнить, что оборудование состоит из правой и левой частей, которые скрепляются так, чтобы при движении техники вперед ножи своими режущими кромками входили в землю. Поэтому этот блок крепится по ходу движения.
Перед установкой фрезы на мотоблок своими руками необходимо проверить, чтобы пазы и отверстия на лопастях и лепестках навески соответствовали друг другу по диаметру. При неправильной схеме сборки мотокультиватор во время эксплуатации будет отклоняться от выбранного направления, процесс фрезерования обрабатываемой поверхности станет затруднительным.





























