Вид работ
Необходимо определится с видом работ, которые вы будете предоставлять клиенту. Они разделяются на несколько основных:
Сервисные работы
- Замена масла и тех. жидкостей.
- Автомойка, химчистка.
- Шиномонтаж.
Ремонтные работы
- Ремонт двигателя.
- Ремонт ходовой части.
- Кузовной ремонт.
- Лакокрасочные работы.
- Сварочные работы.
Для каждого вида необходим определенный набор инструментов с помощью которых ремонт или обслуживание будет проходить качественно и быстро.
Самым распространенным видом ремонта в гаражных условиях является «кузовной» ремонт, так как многие считают, что для него необходимо минимум инструмента. От части это правда, если необходимо покрасить одно крыло или бампер. Но этот миф рассеивается, когда появляется постоянный поток клиентов. Нужно работать быстро и эффективно, а без специализированного инструмента этого не добиться. Поэтому со временем гараж приобретает вид, хорошей мастерской и наполняется соответствующим инструментом, это аппарат точечной сварки (споттер), стапельные устройства, разные шлифовальные машинки, инфракрасный обогреватель, куча разных краскопультов, а также компрессор обзаводится большим ресивером.
Для ремонта двигателя нужно гораздо меньше профессионального оборудования по количеству, но зато его цена в разы больше чем потребовалось бы для покраски бампера. Хотя профессиональный ремонт двигателя тоже требует больших вложений для разных систем диагностики и стендов.
Итог:
Если Вы хотите превратить свой гараж в автомастерскую, а ковыряние с автомобилем или мотоциклом для вас — хобби. То вам понадобится минимум инструмента, какой нужен именно вам выберете сами.
Инструмент для гаражной мастерской:
- набор рожковых ключей,
- набор головок, желательно с разными шарнирами,
- набор отверток (хороших),
- дрель,
- угловая шлифмашина (другие названия болгарка, ушм, турбинка),
- сварочный аппарат для дуговой сварки (лучше инверторный — меньше занимает места),
- сварочный аппарат для точечной сварки,
- компрессор,
- краскопульт (желательно несколько),
- для зимнего времени — печь или тепловая пушка.
Самодельное сверло и сфера его применения
Для изготовления такого сверла вам потребуется металлическая трубка длиной 100 мм и 10 мм в диаметре.
ФОТО: YouTube.comОдин конец трубки нужно обточить на станке, чтобы получился острый режущий край
ФОТО: YouTube.comТакое сверло пригодится вам, если нужно сделать перфорацию на тонком материале. Резина, кожа, тонкая фанера – всё это легко поддаётся обработке таким инструментом. Только помните, что при работе с деревом сверло нужно охлаждать в ёмкости с водой
ФОТО: YouTube.comМежду прочим, высверленные кусочки материала могут пригодиться вам в качестве демпферов для мебели. Их можно наклеить в местах, где стучат дверцы или ящики
Сверло может пригодиться вам и в том случае, если в материале сломался саморез. Просто высверливаете вокруг него материал этим приспособлением и извлекаете его вместе с обломком самореза.
Приспособы для смотровой ямы
Подъемник для гаража делают из швеллера №8 (продольные прогоны), швеллер №6 (поперечные). Направляющие для площадки изготавливают из прямоугольной трубы сечением 50 х 50 мм. Материал выбирают так, чтобы швеллер меньшего сечения заходил краями в больший (для жесткости).
Применяют домкрат на 6 тонн, его ставят на площадке из трех кусков швеллера №6. В конце по бокам приварен усилитель из металлической полосы толщиной 6 мм. Для колесиков взяты подшипники по 2 шт. на углах. Оси выполнены из болтов длиной 40 мм, М20. В промежутке рамы и подшипников стоят вставки 30 мм, чтобы нивелировать неровные края смотровой ямы.
Для плавного движения есть горизонтальные планки на подшипниках, стопорные башмаки сделаны в форме треугольников с катетами 160 и 290 мм из полосы. Конструкцию соединяеют сваркой с помощью электродов 4 мм.
Самодельный светильник для ямы в гараже
В категорию гаражных самоделок попадает прибор для освещения внутри ямы. Для каркаса используют профиль СД – 60 по г/картону, из него вырезают кусок длиной 1 метр. На одинаковом расстоянии делают несколько отверстий соответствующего патронам диаметра по числу устанавливаемых светильников.
Патроны берут е27, такие ставят в настольных осветительных приборах. Можно применять другие патроны, если у них есть крепление. К патронам присоединяют медный провод в оплетке длиной 20 – 30 см.
Патроны фиксируют на каркасе, провода соединяют между собой, присоединяют к кабелю с вилкой. Импровизированный светильник можно разместить на стенке.
Складная лестница для гаражной ямы
Для обустройства конструкции используют квадратную трубу, уголок, металлические полосы, доски для ступеней. В качестве метизов выступают саморезы, шайбы, болты.
- составляют эскиз с размерами лестницы из двух складных деталей, скрепленных между собой петлями;
- вырезают шаблон для работы из листа ДСП в натуральную величину;
- металлические детали накладывают на шаблон, прижимают струбцинами, приступают к сварке;
- торцы боковых опор верх и низа марша закрывают стальными пластинами;
- приложив готовые элементы к шаблону, отмечают точки фиксации петель;
- приваривают проушины, проверяют фиксацию сгибанием.
В боковых уголках сверлят отверстия для крепления ступенек, их размечают по шаблону. Крепят опорные элементы под проступи. Так делают с нижней и верхней частями лестницы. К окантовочному профилю смотровой ямы приваривают ушки для фиксации марша в рабочем положении. Для скольжения и складывания внизу ножек лестницы выполняют отверстия для болтов с пропилом на шляпке. На болте крепят пружину прижима к краю ямы.
Составляем схему (план) внутреннего обустройства
Вне зависимости от площади гаража (6 на 6, 8 на 8 и так далее), прежде чем приступать к обустройству помещения, необходимо учесть различные варианты оформления. Для этого потребуется план (схема), с помощью которого можно расположить предметы внутри по-простому и заранее просчитать примерный расход материалов.
В ходе разработки плана следует учесть площадь, которую занимает автомобиль, и расстояние между стеллажами и транспортом
Не менее важно отразить в схеме ширину утеплителей, если подобный материал используется при обустройстве внутреннего пространства, и направление открывания ворот
Стойка для дрели
Идеальный вариант самоделки в гараже своими руками для мастера, занимающегося производством металлических и деревянных изделий – сооружение собственного сверлильного станка. Его можно собрать из простейшей дрели, сконструировав стойку подходящего размера.
Для сборки потребуются:
- пила;
- тиски;
- отвёртки;
- наждак;
- шпильки для монтажа суппорта;
- саморезы и клей для фиксации деревянных элементов;
- электрическая дрель.
Конфигурация подобного станка может быть разной, всё зависит от индивидуальных потребностей. Наглядно помогут изучить как делать подобные гаражные самоделки своими руками видео, фото и чертежи от мастеров, которые уже реализовали подобные решения.
Обычно стойка состоит из таких базовых деталей:
- станина;
- направляющие для стойки, по которой движется электроинструмент;
- рукоятка изменения высоты дрели;
- дополнительные узлы (исходя из потребностей, к примеру, горизонтальное перемещение для фрезерования).
Аксессуары для гаража: обустройство помещения
Прежде, чем мы приступим к описанию способов изготовления принадлежности для гаража, предлагаем навести порядок в самой автомастерской. Ведь у каждого инструмента должно быть свое место, так вам будет легче работать.
Самодельные инструменты очень практичны, но не всегда выглядят эстетично, поэтому их лучше убирать от посторонних глаз. А вот, например такое приспособление, как сверлильный станок и домкраты, можно поставить на видное место.
Теперь подробнее об организации рабочего пространства. Если вы решили сделать автомастерскую в гараже, и зарабатывать на этом деньги, то вам придется соответственно подготовить пространство.
Как организовать пространство для хранения инструмента в гараже:
- Прежде всего, мы советуем изготовить вам несколько деревянных ящиков. В некоторых из них можно сделать полку с отверстиями для отверток.
- Также необходимо сделать передвижные стеллажи, для тяжелого инструмента. Это позволит вам менять местоположения этих полок, ставя их на удобное для вас место.
- Чтобы в процессе работы, вам не приходилось постоянно бегать за инструментом, вы можете использовать специальный пояс, в который поместятся предметы первой необходимости. Такие приспособления можно купить или сделать самостоятельно.
Такие самодельные места для хранения инструмента поможет вам организовать пространство в гараже. Благодаря этому, все необходимое всегда будет находиться под рукой. Это существенно сэкономит ваше время.
Места хранения, стеллажи, верстаки
В 80% случаев приспособления для гаража своими руками сооружаются для хранения аксессуаров, инструмента, комплектации автомобиля. При этом следует учесть, что самыми громоздкими деталями машины являются комплекты зимней/летней резины в зависимости от сезона.

Правила хранения шин
Хранить колеса удобнее на кронштейнах следующей конструкции:
- две треугольных рамки из уголка, соединенные перемычками из любого металлопроката;
- треугольники крепятся к стене, колеса устанавливаются перпендикулярно несущей конструкции, чуть проваливаясь между перемычками.
Кронштейны для хранения колес
Это самый экономичный вариант хранения резины в межсезонье. Наиболее востребованы автолюбителями прямые и угловые верстаки. Нижнее пространство обычно заполняется полками или ящиками, на столешнице располагаются заточные станки, тиски.

Самодельный гаражный верстак

Весьма удобным может стать складной верстак

Дерево — универсальный материал как для верстаков, так и для стеллажей
Деревянный верстак проще соорудить самостоятельно, однако он обладает меньшим ресурсом, чем аналог из металлопроката, который нужно сваривать. Если в несущие стены при строительстве не заложены уголки для полок, проще изготовить стеллажи из металлопроката или пиломатериала.
Самодельные гаражные стеллажи

Использование для стоек стеклянных бутылок

Встроенные шкафы обладают большой компактностью
Оригинальные подвесные полки подойдут для хранения длинномеров
Конструкция и расположение стеллажей внутри каждого гаража слишком индивидуально, чтобы следовать общим рекомендациям.
Как сделать верстак?
Кто видел гараж, в котором нет верстака с укрепленными на нем тисками? Или гараж без полок, антресолей, навесных шкафов на стенах? Без стенда для проверки или технического обслуживания автомобиля?
Большой и удобный верстак в гараже – его неоспоримое преимущество. Если же в нем организовать ящики для инструментов и деталей, то он превратится в универсальное место работы. Обычно такой верстак делают на всю ширину гаража с различными по размерам ящиками.
Для его монтажа при габаритах 660х100х60 см нужны:
- пила;
- фанера различной толщины;
- полиуретан;
- краски;
- шлифмашинка;
- крепеж.
Порядок работы:
- для верстака размером 660х100х60 см потребуется нарезать 4 листа толщиной 20 мм;
- для рабочей поверхности лучше использовать шлифованную фанеру;
- ящики изготавливают из полос 0.6х4.8 м, толщиной 13 мм;
- секции стеллажа монтируются из 20 фрагментов размером 61х61 см;
- каждый вертикальный ряд ящиков рассчитывается так: 3 мелких и 1 глубокий;
- глубина пазов направляющих составляет 1.27 см;
- дополнительно вырезать паз 254 мм внизу шкафа и три паза в 127 мм друг от друга и в 146 мм от верха шкафа;
- нужная жесткость конструкции создается усилением задней стенки полосами фанеры;
- собираем все конструкции для пяти ящиков и скрепляем их между собой, потом крепежными винтами фиксируем к стене так, чтобы под ними было свободное место для негабаритных предметов;
- собрать ящики из фанеры толщиной 13 мм;
- ручки вырезают в передней стенке ящика либо приобретают готовые и фиксируют саморезами;
- габариты нижних ящиков составляют 120х25х5 см и 60х25х5 см;
Хранение мелочей
Поиск бригады на стройку без посредников
Основные способы поиска сотрудников для строительства:
- Разнорабочие на стройку. Самый надёжный вариант: обратиться к посредникам, строительным компаниям, предоставляющим персонал по требованию и с нужной квалификацией. Самостоятельный поиск не так надёжен, но менее затратен. Ещё варианты: создать заявку на поиск и обрабатывать входящие предложения. Обратиться к услугам частных лиц на биржах и досках объявлений.
- Подрядчик. Ознакомиться с рейтингом лучших строительных компаний в регионе. Отправить запрос в 5-10 организаций и выбрать лучшую.
- Гастарбайтеров. В каждом городе есть специальное место, где скапливаются люди из стран ближнего зарубежья, которые ищут работу, можно поискать строителей там. Ещё варианты: узнать у знакомых, соседей, пообщаться на форумах.
- Для возведения частного дома. Обратиться в строительную компанию, найти строителей на просторах интернета, через знакомых или по объявлению.
Виды договоров по найму со стройкомпаниями
- Основным вариантом является договор строительного подряда. Здесь заказчиком может выступать государство, юридическое или физическое лицо. Внутри указываются реквизиты и параметры строительного объекта, объём работ, сроки, стоимость, права и обязанности сторон, ответственность и пр.
- Договор купли-продажи или поставки. Используют для закупки материалов, комплектации расходниками, заключается в простой письменной форме.
- Договор на аренду: строительной техники, транспортного средства.
Полная статья о договоре строительного подряда здесь.
Все эти бумаги создаются на основе статей Гражданского Кодекса, 420-453, 454-491, 506-524, 632-649, 702-768.
Договора должны быть полными, отображать всю необходимую информацию, чтобы при возникновении непредвиденных ситуаций можно было найти виновника, получить компенсацию или решить вопрос максимально быстро.
Самодельный удлинитель с двумя розетками
«Фирменная» катушка для удлинителя делается из двух фанерных дисков, которые скреплены болтами. Фрагменты разделены дюралевой трубкой и шайбами.
На одной стороне катушки болты утапливаются, чтобы контакт с рукояткой был без травм. На другой стороне на определенном расстоянии просверливаются два отверстия для розеток. Коробки для розеток крепятся на шурупы.
Правильное хранение и эксплуатация инструмента
Самодельный удлинитель с двумя розетками
Каждая труба крепится с фанерной пластиной саморезами через щель. Чтобы фрагмент трубы не расшатывался во время эксплуатации, под бока держателя приклеиваются куски штапиков клеем ПВА.
Когда необходимо повесить держатель на стене гаража, ручка вставляется в трубку держателя. Стойка рукоятки плотно входит в щель и фиксируется. С такой доукомплектацией катушка крепится на потолке либо на днище полок.
Чтобы баран удлинителя легко вращался, на краю диска прибора монтируется маленькая рукоятка, которая состоит из трубчатых отрезков различного диаметра. Труба большего диаметра надета на меньший шланг и жестко зафиксирована плоским шурупом.
Прочие интересные самоделки
Печь буржуйка из старых дисков
Навесные замки гаражных ворот подвергаются действию мороза, снега, обледеневают, поэтому ржавеют, выходят из строя. Защиту в виде импровизированного навеса выкраивают из автомобильной камеры. Кусок фиксируют над замком болтом с гайкой.
Печь-буржуйка из автомобильных дисков
Понадобится листовой металл, дверки для топочной камеры, диски, квадратная труба, коллектор для отведения дыма, винты, жаростойкая краска.
Из дисков болгаркой или плазменным резаком удаляют сердцевины, затем монтируют насадку в форме лепестка. Ровняют края дисков, чтобы при соединении не возникали щели, заваривают в них отверстия и сваривают между собой.
Переднюю и заднюю стенки отрезают, заваривают толстым листовым железом. Надежные ножки для печки делают из профильной трубы. Топочную дверь устанавливают в отверстие на винтах. Сверху конструкции обустраивают варочную поверхность из толстого металла.
В корпусе делают отверстие под дымник, приваривают его, выводят за пределы гаража. Колосники варят сами или берут готовые. Поддувало выполняют в нижней области печки, ставят заслонку.
Компрессор из старого мотора
Компрессор из старого двигателя
Потребуется двигатель от скутера, мопеда, от мощности будет зависеть производительность нового агрегата. В итоге получают компрессор с неплохим ресурсом для работы краскопульта, накачки колес и других подобных работ.
Материалы для работы:
- двигатель четырехтактный;
- агрегат от стиральной машины;
- ременная трансмиссия;
- фитинги, штуцеры, трубки и другие детали;
- для ресивера газовый баллон;
- квадратная труба для станины;
- реле давления;
- редуктор, манометр.
Мотор разбирают и используют коленвал с шатуном, поршень, цилиндр с ГБЦ. С клапана снимают жесткие пружины, ставят мягкие, на выходе предусматривают сапуны высшей степени очистки. Картеры привода ГРМ и коленвала соединяют трубкой. Из мотора сливают масло, небольшой объем оставляют.
Свечу меняют переходником, на него устанавливают клапан, чтобы не всасывались потоки воздуха. Проверяют прокручиванием вала мотора. Компрессор должен качать воздух. Под агрегат делают подставку из стали.
Для изготовления ресивера из баллона снимают кран, избавляются от содержимого, затем промывают, и делают резьбу под штуцеры. Вместо нарезки витков можно приварить гайку. Все узлы фиксируют на раме из квадратной трубы.
Ставят электродвигатель, компрессор, валы стыкуют посредством шкива, передачу регулируют по месту. Конструкцию окрашивают.
Рекомендации обустройства гаража
Для комфортной эксплуатации помещения, предназначенного для хранения авто, следует придерживаться определенных рекомендаций:
- инструмент обязан быть максимально доступным;
- места хранения, оборудованные полками/стеллажами, значительно удобнее;
- верстаки, смотровая яма, самодельные станки и приспособления для гаража своими руками расширяют возможности автовладельца;
- погреб позволяет сэкономить пространство участка;
- от качества освещения зависит производительность работ, мелкого ремонта.
Организация рабочего пространства внутри гаража
В зависимости от габаритов постройки площадь, занятая оборудованием, приспособлениями, коммуникациями, не должна быть больше 10 – 20% от размеров пола гаража.
Приспособы для смотровой ямы
Эстакада для ремонта автомобиля
В полезные самоделки для гаража своими руками обязательно стоит включить эстакаду для ремонта транспортных средств.
![]()
Для сооружения эстакады рекомендуется сначала сделать чертежи, в которых учесть размер помещения и габариты автомобиля. К длине машины следует добавить 1 м для лучшей устойчивости и обеспечения безопасности. Ширина трапа должна быть не менее 40 см, высота опор – порядка 80 см.
Обратите внимание!
- Компрессор своими руками: подбор материалов и инструментов для сборки в домашних условиях + пошаговая инструкция по изготовлению и сборке своими руками
-
Пресс своими руками — особенности конструкций, выбор материалов изготовления. Пошаговая инструкция по изготовлению своими руками + простые схемы и чертежи
-
Лебедка своими руками: классификация, материалы изготовления, описание этапов работы + инструкция для сооружения своими руками
![]()
Для изготовления конструкции оптимально использовать прямоугольную профилированную трубу. Сечение трубы не должно быть меньше 14 мм, чем тяжелее автомобиль, тем толще должен быть профиль.
Создание полезных приспособлений для гаража своими руками
Чтобы осуществлять ремонтные и сервисные работы, потребуется соорудить смотровую яму в гараже своими руками, размеры которой будут соответствовать габаритам авто, а также верстак для удобной работы, плюс снабдить помещение станками.
Основной набор инструментов и материалов для создания самодельного верстака для гаража включает:
- доски и деревянные бруски;
- крепежные элементы и стяжки;
- рубанок и другие инструменты для обработки дерева;
- лакирующий и столярный клеевые составы;
- наждачную бумагу и олифу.

Пример размещения в гараже полезных приспособлений: 1 — верстак с ручными станками, 2 — стеллажи и шкафы, 3 — стол для проведения различных ремонтных работ, 4 — полка для хранения шин, 5 — смотровая яма
Технология изготовления верстака в гараже своими руками: фото, чертежи
Верстак состоит из столешницы и подстолья, а также нескольких устройств зажимного типа. Высоту верстака в гараже следует подбирать с учетом собственного роста. Можно взять в качестве ориентира высоту кухонного стола в доме, за которым удобно работать. Обязательно составьте для создания верстака для гаража своими руками чертежи.
Обустройство гаража: как сделать верстак в помещении:
| Этап работы | Детали, размер в см | Тип крепления |
| Сборка столешницы | 20 досок (5х10х200) с пазами 2,5х2,5 в 5-ом и 16-ом элементе (шаг 25) | Клеевой состав металлические стяжки |
| Сушка | — | — |
| Изготовление ножек (4 шт.) | Брусок (10х10х80) с пазами под кронштейны на передних опорах | Кронштейны |
| Сборка основания подстолья | Рамы (2 шт.) из досок (5х10) | Соединение «в шип» на глубину 2,5 см и болты |
| Фиксация боковых и задних опорных стенок | Плиты ДСП (толщина 10 мм) | Шурупы |
| Фиксация столешницы к верхней раме | — | Болты |
Заключительная обработка предполагает пропитку готового изделия олифой и вскрытие лаком.
Рекомендации по созданию смотровой ямы в гараже своими руками
Не существует определенных размеров смотровой ямы в гараже. В качестве основы берутся габариты автомобиля.
Как сделать смотровую яму в гараж с оптимальными параметрами:
- Ширина подбирается с тем расчетом, чтобы внутри было достаточно места для работы. Размер ограничен расстоянием, на которое посажены колеса авто. Каждое колесо нуждается в небольшой площади для выполнения маневров. Средняя ширина ямы составляет 0,8 м.
- Длина ямы ограничивается длиной машины. К этому показателю следует добавить 1 м.
- Для расчета глубины используется рост владельца гаража. К нему прибавляется еще 10-15 см.
Как правильно сделать смотровую яму в гараж с использованием разных материалов:
| Материал | Толщина стенок, см |
| Керамический кирпич | 12-25 |
| Бетон | 15 |
| Строительные блоки | 20 |
Котлован вырывается с учетом оптимальной ширины ямы, материала, выбранного для стенок, а также толщины гидроизоляционного слоя. Этапы создания ямы:
- разметка;
- строительство котлована;
- обустройство котлована;
- строительство стен;
- прокладка освещения.
Для гидроизоляции стен применяется специализированная гидрофобная пропитка.

Схема обустройства смотровой ямы: 1 — стенки из пеноблоков, 2 — гидроизоляция, 3 — бутовая кладка. 4 — уголок размером 50х50х4 мм
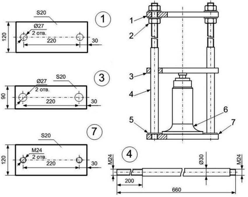
Изготовление пресса для гаража своими руками
Для создания пресса следует изготовить из 4 отрезков металлических труб каркас размером 178х80 см. Эти элементы соединяются методом сварки. В работе рекомендуется руководствоваться чертежами, заранее подобранными или составленными. После этого нужно установить:
- фиксатор;
- съемный упор;
- бутылочный домкрат (гидравлический).
Можно использовать для рассмотрения подробной технологии создания полезных приспособлений для гаража своими руками видео-материалы. Такие наглядные рекомендации помогают сориентироваться в размерах, освоить пошаговые инструкции и представить, какой внешний вид должна иметь готовая конструкция.

Схема изготовления гидравлического пресса: 1 — верхняя силовая платформа, 2 — гайки, 3 — нижняя платформа, 4 — шпильки диаметром 30 мм, 5 — нижняя резьба шпилек, 6 — гидравлический домкрат бутылочного типа; 7 — основание толщиной 20 мм
Обустройство гаража можно сделать собственными руками. На этом список полезных приспособлений не заканчивается. Его всегда можно дополнить любыми интересными идеями. Главное, чтобы гараж полностью соответствовал личным требованиям в отношении комфорта и удобства.
17 лайфхаков с инструментами, о которых не знает даже твой отец
Наконец-то батя тебя зауважает!
Слова: Антон Городецкий @gorod_anton
Сразу предупреждаем: эта подборка будет полезна в первую очередь тем из тебя, читатель, кто в детстве и юношестве испытывал экзистенциальный ужас от одного лишь вида гаечного ключа и так до сих пор и не выучил разницу между крестообразной и шлицевой отвертками; тем, кого отец насильно тащил в гараж, чтобы «он рос нормальным мужиком, а не девкой крашеной» (как, например, автора этого текста).
Тот же, кто своими руками с помощью лишь долота и зубила собрал сначала велосипед, затем мотоцикл, автомобиль, дом и жену с тремя детьми, вряд ли почерпнет здесь что-то новое. Ты и так молодец, мужичина и брутал. Можешь с чистой совестью закрыть окно браузера (который ты, кстати, тоже наверняка собрал сам) или втихаря посмеяться над неумехами, которые только собираются открыть для себя мир правильно закрученных гвоздей и аккуратно вбитых шурупов.
Чтобы не разлить масло, используй отвертку
Если под рукой нет воронки, разумеется.

Используй гаечный ключ в качестве рычага для отвертки
У некоторых отверток подходящий разъем находится под ручкой.

У других — прямо на ручке

Гаечный ключ подходит в качестве рычага и для другого ключа

Используй плоскогубцы вместо отвертки
Для, кхм, труднодоступных мест.

Используй кусачки для ногтей в качестве рычага для маленьких отверток

Навсегда забудь про удары молотком по пальцам
Приклей к ручке молотка маленький магнит
Так гвозди будут всегда под рукой (в самом прямом смысле).

Или носи магнит в нагрудном кармане
Трюк, правда, не сработает, если ты используешь кардиостимулятор.

Упорядочи гаечные ключи с помощью старых граблей

Забудь про случайно выдернутые из сети шнуры электроприборов

Храни металлическую мелочь перед глазами с помощью магнита

Используй резинку, чтобы выкрутить сорванный шуруп

Или привари другое крепежное изделие
Если дела совсем плохи.

Упорядочить крепежные изделия можно с помощью бумажных стикеров

Еще можно вкручивать болты и шурупы в пенопласт
Например, когда в сотый раз пересобираешь мебель из IKEA.

Прибей крышки банок гвоздями к полке
В них можно хранить всякую мелочь вроде крепления и хомутов.
Конструирование столярного верстака своими руками: чертежи, видео
Приступим к изучению полезной бытовой техники своими руками с верстака. Этот полезный агрегат бывает следующих типов: стационарный, мобильный и складной.
На схеме показаны основные элементы такого верстака
Помните, что конструкция складного верстака своими руками должна содержать следующие детали:
столешница, для создания которой вам понадобится доска толщиной не менее 6 см, в этом случае используется граб, бук или дуб. Можно использовать доски, окрашенные льняным маслом;
Для выполнения работы потребуются специальные чертежи
- конструкция тисков крепится на верхней крышке;
- опорные ножки верстака из сосны и липы. Между ними вставлены продольные соединительные балки для устойчивости всей конструкции;
- полки для инструментов монтируются под верстаком.
На схеме показано, как правильно собрать такое оборудование
Технология и чертежи столярного верстака своими руками: простая конструкция
Для изготовления такого устройства потребуются чертежи с размерами столярного верстака.
На этом фото вы можете увидеть, как делается складная конструкция
Рассмотрим, как можно построить такое устройство:
- крыша отделана брусом;
- вам понадобятся толстые доски, чтобы сделать крышку. Размер доски должен быть 0,7 * 2 метра. Для застежек используются длинные гвозди;
- в зависимости от размеров столярной скамьи используются вертикальные опоры;
- высота рабочей поверхности фурнитуры для столярной мастерской определяется своими руками. Разметка для брусков наносится на землю, где эти элементы закопаны;
- устанавливается крышка верстака. Опорные стержни прикреплены попарно. В этом случае используются длинные саморезы.
Самодельный вариант оформления
Особенности создания и проектирования деревянного верстака своими руками
Верстак можно купить или сделать самому. Кроме того, конструкция может быть оснащена ящиками. Итак, рассмотрим технологию изготовления:
- при установке перемычек на нужном уровне в планках на опоре просверливаются отверстия. Затем монтируется болт, после чего соединяются элементы;
- вертикальные опоры фиксируются горизонтальными раскосами. Внутри них сделаны пазы для подключения фурнитуры. В этом случае можно использовать зубило и молоток;
- горизонтальные перемычки устанавливаются по две с каждой стороны. Детали под столешницу необходимы для монтажа над столешницей;
- болты используются для фиксации рабочей поверхности. В столешнице просверливаются отверстия под крепеж. Болты устанавливаются так, чтобы они были утоплены.
Чертежи деревянных конструкций
Ленточную шлифовальную машину легко изготовить в домашних условиях. В этом случае вам понадобится наждачная бумага абразивной ленты. Его склейка производится встык. Для усиления шва нужно подложить под низ плотный материал. В этом случае не стоит использовать некачественный клей.
Каркас стола готов
Диаметр ленточного стержня в центре должен быть на несколько мм шире края. Чтобы лента не соскальзывала, необходимо сделать тонкую резиновую пленку. Для производства шлифовальных устройств можно выбрать такие модели, как планетарное, цилиндрическое и плоское шлифование.
Технология изготовления столярных тисков для верстака своими руками
Для верстаков тиски своими руками часто изготавливают в домашних условиях. Видео позволяет увидеть этот процесс:
Для изготовления такой конструкции вам потребуются специальные шпильки. Для работы понадобится шпилька с резьбой. Также нужно подготовить пару досок. Один элемент будет зафиксирован, а другой будет двигаться. При изготовлении обязательно использовать конструкции тисков своими руками. В каждой из досок необходимо просверлить отверстия под шпильки, которые соединяются гвоздями. Затем вставляются винты и гайки с шайбами. При конструировании самодельных тисков своими руками нужно применять готовые инструкции и схемы.
Конструкция столярных тисков
Аккумуляторный степлер
20 Полезная подборка инструментов и приспособлений AliExpress
Привыкли пользоваться примитивным степлером, созданным для маленьких скобок, но если вам требуется более мощный инструмент, способный забивать гвозди, тогда вам стоит обратить внимание на этот агрегат, с аккумуляторным источником питания. Он станет незаменимым прибором для строителей, мебельщиков, позволяя не только сэкономить драгоценное время, но и без особых усилий выполнить нужную работу. Устройство, способно работать с гвоздями до 50 мм и скобами до 40 мм, на корпусе рассматриваемого агрегата, располагается регулятор усилия, позволяющий выставить требуемую мощность удара по гвоздю или скобе
Устройство, способно работать с гвоздями до 50 мм и скобами до 40 мм, на корпусе рассматриваемого агрегата, располагается регулятор усилия, позволяющий выставить требуемую мощность удара по гвоздю или скобе.
Производительность такого вот степлера, до 80 гвоздей в минуту, согласитесь, немало. Аккумулятор, которым снабжен агрегат, литий-ионный, на 18 вольт, ёмкостью 2000 мАч, готов к работе, после 1 часа зарядки.
Инструмент очень удобно держать в руке, а резиновые вставки рукояти не дадут ему выскользнуть во время работы. Вес устройства в сборе, то – есть с аккумулятором, 2,8 кг.





























